公司簡介
|
金湖順儀儀表有限公司是專業的工業自動化儀表生產企業, 生產多個類型的溫度儀表、壓力儀表、顯示儀表、校驗儀表、流量儀表、儀表盤、線纜橋架以及儀表專用電纜、補償導線等。我廠座落在風景秀麗的漁米之鄉--江蘇省金湖縣,毗鄰揚州、南京,交通十分便利,經過多年的積累,我廠現已發展成為集生產、銷售、研發為一體的綜合性儀表生產廠家。
我公司自成立以來,本著“以科技創造奇跡”的經營理念,堅持“與巨人同步”的發展戰略,在短短的時間內取得了驕人的業績和長足的發展。以科技為先導,以客戶價值為依托,有包括您在內的社會各界的一如既往的支持,我們相信,我司一定會成為您事業的助推器。
在網絡發展"高速化、數字化、綜合化、智能化"的今天,我司將以"誠信、創新、高效、進取"的企業精神。我們愿意通過現代化網絡手段,為社會各界提供一個更為快捷方便的服務渠道。
當今企業在市場經濟大潮中,直接面臨著知識經濟和商品經濟的雙重壓力,此種情況既給企業創造更多更好的機會,同時也使企業面臨更大的風險和挑戰!著眼現在,瞄準將來,我們將以過硬的產品質量、良好的企業信譽、誠信的售后服務,創造更加美好的明天。
展開
產品說明
 |
產品名稱:防爆電接點壓力表
|
 |
|
 |
|
放大圖片
|
|
 |
產品介紹:
|
 |
| 防爆電接點壓力表系按GB3836.183《爆炸性環境用防爆電氣設備通用要求》和GB3836.283《爆炸性環境用防爆電氣設備 隔爆型電氣設備“d"》的有關規定相關標準進行設計,并經由的檢驗機構所審批的圖樣和技術文件進行制造。 |
|
 |
詳細內容:
|
 |
|
儀表的防爆類別為II類隔爆型B級T4組,其標志為ExdIIBT4。
儀表適宜在有爆炸危險的場所內用來測量非結晶、非凝固的爆炸混凝土合物或各種無爆炸性的介質壓力。
儀表經與具有相應防爆性能或采取相應安全措施的電氣器件(如繼電器及接觸器等)配套使用,便能對被控系統實現自動控制和發信(報警)的目的。
|
|
|
主要技術指標
|
|
度等級:1.6
標度范圍:0~0.16;0~0.25;0~0.4;0~0.6;0~1.0;0~1.6;0~2.5;0~4;0~6;0~10;0~16;0~25;0~40;0~60;-0.1~0.06;-0.1~0.15;-0.1~0.3;-0.1~0.5;-0.1~0.9;-0.1~1.5;-0.1~2.4MPa
控制方式:上、下限緩行接點開關
zui高工作電壓:DC220C或AC380V
觸頭功率:10VA
工作位置:垂直安裝
使用環境條件:-10~50℃,相對濕度不大于80%,且爆炸性混合物應屬IIB級T4組以下,工作振動和被測介質的急劇脈動應對儀表觸頭的可靠動作無影響。
溫度影響:示值不大于0.4%/10℃,設定點不大于0.6%/10℃(使用溫度偏離20±5℃)
緣強度:50Hz正弦交流電2000V歷時一分鐘
重量:6kg
● 隔爆接合面型式及基本參數
|
| 外殼容積V(L) |
>0.5
|
| 接合面型式 |
平面 |
圓筒(可動部份) |
| 隔爆接合面的zui小有效長度Lmm |
15 |
| 螺釘通孔邊緣至隔爆接合面zui小有效長度L1 |
8 |
| 隔爆接合面zui大間隙功直徑Wmm |
0.15 |
| 隔爆接合面的表面粗糙度Ra |
 |
 |
|
注:隔爆接合面的有效長度和間隙寬度的范例機參見隔爆外殼結構示意圖
● 隔爆外殼及導壓系統等零件和材質 |
| 零件名稱 |
材料牌號或名稱 |
零件名稱 |
材料牌號或名稱 |
| 驅殼蓋 |
ZL102 |
薄墊圈 |
L3 |
| 出線盒 |
(或ZL-102,ZL-101) |
接頭 |
20 |
| 軸套 |
QAI9-2 |
彈簧管 |
3L53 |
| 觀察窗 |
有機玻璃 |
|
|
|
注:觀察窗的材質其抗沖擊強度不小于4J。
觀察窗一旦損壞,則不準使用。 |
| 結構原理 |
儀表由隔爆外殼、測量系統、電接點組、調節裝置和出線盒等組成。
儀表的隔爆外殼具有良好的隔爆性能,因此對在正常工作過程中由于火花或電孤的影響,隊了能承受殼體內部的爆炸性氣體混合物在一旦引起爆炸時產生的爆炸壓力外,并能有效地阻止由此產生的熱能向外順利傳播,而只能在殼體內部沿著隔爆接合面的微小縫隙處緩慢地向外擴散。這時,傳至殼體外部的瞬間溫度已降低到爆炸性氣體混合物的燃點溫度以下,故不會導致傳爆。
儀表的工作原理是基于檢測元件(測量系統中的彈簧管)的彈性變形,通過機械傳動使之帶動接點組中的觸頭產生相應的動作(閉合或斷開)以使控壓系統中的電路得以接通或斷開,從而實現自動控制報警和現場指示的目的。 |
|
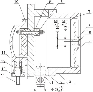
隔爆外殼結構示意圖
|
1、接頭 2、驅殼 3、蓋 4、表玻璃 5、調節柱 6、軸套
7、彈簧圈 8、導電螺 9、緣套管 10、出線盒 11、密封墊圈 12、墊圈
13、壓緊螺栓 14、引入導線(四芯電纜) 15、圓柱頭內六角螺釘 16、圓柱頭內六角螺釘
17、薄墊圈 18、調節桿 |
|
電氣電路連接示意圖
|
 |
| 外形尺寸 |
|
單位:mm
|
|
|
|
|
本頁產品地址:http://m.521uz.com/sell/show-2698722.html

免責聲明:以上所展示的[
SY-YSX 防爆電接點壓力表]信息由會員[
江蘇順儀儀表有限公司]自行提供,內容的真實性、準確性和合法性由發布會員負責。
[給覽網]對此不承擔任何責任。
友情提醒:為規避購買風險,建議您在購買相關產品前務必確認供應商資質及產品質量!