| 提交詢價信息 |
| 發布緊急求購 |
價格:電議
所在地:江蘇 淮安市
型號:MY- LZB/LZJ
更新時間:2019-04-29
瀏覽次數:1957
公司地址:江蘇省金湖縣塔集工業集中區長征路6號
![]()
宋小姐(先生) 銷售經理
在互聯網商務的時代浪潮中,銘宇公司專門成立了電子商務部,依靠專業的網絡技術力量和電子商務貿易手段,實施對傳統經濟和資源的整合以及大范圍快速的拓展市場。公司成立以來憑借良好的信譽及優質的服務已經與各地區的工業生產廠商建立了長期穩定的商業貿易伙伴關系。
銘宇公司堅持“與世界同步、與客戶共贏”的企業宗旨,堅持“追求卓越、盡善盡美”的經營理念; 堅持“開拓、務實、規范、創新”的管理理念;充分尊重合作伙伴的價值,提倡開展精神文明建設活動,展現擴大員工價值,圍繞構建和諧企業文化。
銘宇公司將以優質的產品、優惠的價格、優良的服務積極參與市場競爭,竭誠與各界朋友,新老客戶誠信合作,共創輝煌。
玻璃轉子流量計詳細資料:
MY- LZB/LZJ系列玻璃轉子流量計廣泛應用于化工、石油、輕工、醫藥、環保、食品及計量測試、科學研究等部門,測量單相非脈動流體(液體或氣體)的流量。
MY- LZB/( )F/LZJ-( )F系列耐腐玻璃轉子流量計有較強的耐腐性能,可檢測酸、堿、氧化劑和其它腐蝕性的氣體或液體的流量,適用于化工、制藥、造紙、污水處理等行業。
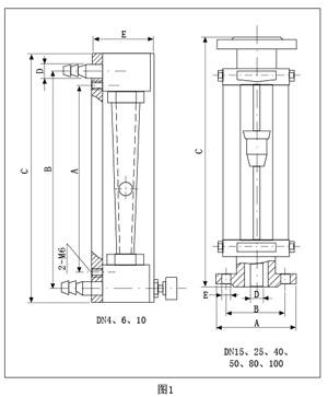
| 外形及安裝尺寸 | |
|
|
|
原理與結構
流量計主要由一根自下而上擴大的錐形玻管和一只隨流體流量大小上下移動的浮子組成(圖3)。流體自下而上流經錐管時,流體動能在浮子上產生的升力S和流體的浮力A使浮子上升,當升力S與浮力A之和等于浮子自身重力G時,浮子處于平衡,穩定在某一高度位置上,錐管上的刻度指示流體的流量值。 |
|
|
LZB/LZB-( )F流量計的錐管為光滑內壁管(見圖4),通徑DN15以上的流量計,浮子通過導桿 上下移動,保持穩定;LZJ/LZJ-( )F流量計錐管 內壁有三條導向凸筋,使浮子保持穩定(見圖4)。通徑DN10以下的流量計采用軟管連接,配有 針形流量調節閥;通徑DN15以上流量計采用法蘭連接。
|
|
接觸測量流體的零部件材質 |

型號規格及技術參數
|
通徑DN |
型 號 |
測量范圍 |
椎管長度(m) |
精度等級 |
允許被測液體狀態 |
|||
|
水20℃ |
空 氣 |
LZB/LZJ |
LZB-()F |
溫度(℃) |
壓力 |
|||
|
2 |
LZB-2 |
0.4~4ml/min |
6~60ml/min |
160 |
1.5:2.5 |
2.5:4 |
-20~+120 |
≤0.4 |
|
3 |
LZB-3 |
2.5~25ml/min |
40~400ml/min |
|||||
|
4 |
LZB-4 |
(1~10)L/h |
(16~160)L/h |
|||||
|
6 |
LZB-6 |
(2.5~25)L/h |
(40~400)L/h |
|||||
|
10 |
LZB-10 |
(6~60)L/h |
(100~1000)L/h |
2.5 |
≤0.6 |
|||
|
15 |
LZB-15 |
(16~160)L/h |
(0.25~2.5)m3/h |
350 |
||||
|
25 |
LZB-25 |
(40~400)L/h |
(1~10)m3/h |
|||||
|
40 |
LZB-40 |
(160~1600)L/h |
(4~40)m3/h |
430 |
||||
|
50 |
LZB-50 |
(0.4~4)m3/h |
(10~100)m3/h |
450 |
||||
|
80 |
LZB-80 |
(1~10)m3/h |
(50~250)m3/h |
500 |
≤0.4 |
|||
|
100 |
LZB-100 |
(5~25)m3/h |
(120~600)m3/h |
|||||
全不銹鋼型
法蘭、浮子、導桿、支承板及螺栓等均為不銹鋼304(1Cr18Ni9Ti),型號為LZB-( )B。
接液材質如需選用316,則型號為LZB-( )Bo,需定做。
如需不銹鋼內襯PTFE,則型號為LZB-( )BF(或BoF),需定做。
全四氟型
基座、浮子、針閥采用聚四氟乙烯(PTTFE)。支承板、螺絲等采用不銹鋼
免責聲明:以上所展示的[MY- LZB/LZJ 玻璃轉子流量計]信息由會員[江蘇金湖銘宇自控設備有限公司]自行提供,內容的真實性、準確性和合法性由發布會員負責。